Product DetailsLOCATION:HOME > > Product Details
Maintenace-Free Rod Engs CM...T
Number of Visits:

Maintenace-Free Rod Engs

CM...T


Specification:

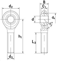
- Rod body with right or left-hand male thread.

- Rod body pressed around inner ring.

- Surface of rod body zinc plated.

- Outer race lined with PTEF fabric.


Previous:Maintenace-Free Rod Engs CF...T
Next:Stud Type Track Rollers KR/KR...PP